As regards stage lighting, we can offer event managers and PA managers an efficient solution in our CDX-1 cable.
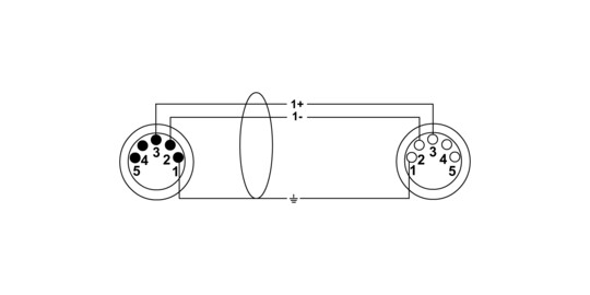
This DMX cable is AES/EBU certified and features black 5-pin XLR female and XLR male metal connectors made by NEUTRIK®, 3-pin configuration.
The corresponding bulk cable is our high-grade CDMX-1 featuring a double screen of AL fleece foil spiral wound tinned copper wires. The cable is especially suited for controlling intelligent flood lights, moving heads and dimmers because it conforms with EIA 485 standards and DMX 512 specifications. On both cable ends you’ll find transparent shrink-on tubes to make individual labelling possible.
Please note that the technical DMX connection standard is reciprocal to standard XLR usage in the field of audio technology. Here the DMX transmitter features a female, the receiver a male connector.






















